6.3 Ballast Discussion.

Seacaptain Kjetil Hauge was questioned on March 29.03.1980 and April 01.04.1980. He had left <<Kielland>> 2.5 hrs prior to the disaster. It is stated in his questioning report that he presented a summary of ballast in tanks dated 22.07.79 and that this report is not representativ for the status on March 27th 1980. He further presented the controlroom operators morning report dated 27.03.80 hrs 05.00 (the day of the disaster).

A copy of the contolroom operators morning report is included in the Commissions report on page 244. Further in the Commissions report page 245 and 246 is included "Weight & Stability Calculations Ballast & Consumables in Tanks"dated April 1st 1980. Neither of these reports are signed. The Weight, Ballast & Consumables report is reconstructed by memory after the disaster and its trustworthyness is doubtful. For instance the given figures for ballast in the D-leg can hardly correspond with the ballast situation of the broken away D-leg towed in to Stavanger.
Image 6.3.1; Weight & Stability Calculations sheet 1.
Image 6.3.2; Weight & Stability Calculations sheet 2.

A roughly control of the D-leg floating with D6 bracing pointing above water indicates that either are the figures given for ballast in the port tanks 4 & 5 to high or the figures for ballast in tank 6 and starboard tank 3 to low. Consideration is made for weight of remining bracing parts, anchor wire lines and pontoon tank steel wall divisions. The anchor wire was reported cut during a stoppage in the tow to Stavanger.
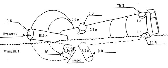
Image 6.3.3; Tank division in pontoon and leg.
Image 6.3.4; D-leg afloat in Stavanger.
Image 6.3.4; Ballast waterin tanks, D-leg.
Image 6.3.5; Stability control view.

Most likely are the figures given for ballast in port tanks 4 & 5 are to high. This also corresponds to the fact that starboard silos on deck must have contained incompressible bulk material. It is logic to compensate for additional weight on starboard by reducing ballast water on the same side i.e. in the D-leg. The question is however if such weight and ballast redistribution was within the design operational criteria for difference in ballast between the diferent legs. Even so this will introduce additional shear force in the structure and in the remaining material in the fatigue crack on bracing D6.

The Commission states in their report on page 248 that it was hard to determine the exact weight of the platform. It had been necessary to pump air into leg tanks and trunks on the upside down floating platform to keep it safely floating. According to the log of this operation the E-leg trunk seamed to be filled with water. The difficulty in asessing the platforms total weight relates to the amount of trapped air in the deck. It was noticed that air was let out and replaced by water while the platform was at Kårstø prior to being towed to Stavanger. During the first uprighting attempt in 1980 it was further proved that the platforms center of gravity was not as presumed. This was not discovered before the uprighting angle was 120 degrees i.e. with part of the deck breaking the surface. The reason could be faulty weight data, faults in deckk loading and in ballast in tanks.

Most likely a combimnation of faulty weight data and trapped air in deck. It was noticed during the first uprightingattempt that air escaped from the deck during the time the platform was floating at 90 - 120 degrees. As long as theair was trapped in the platform under water it would give additional buoyancy indicating that the platform was lighter. When the air pockets in the deck breaks the surface the positive effect on buoyancy is lost and full weight applied affecting the uprighting momentum.

The filling of starboard silos (instead of port silos) and deballasting of the D-leg introduced increased tension in the D6 bracing. The main question is if this load distribution was done on purpose as part of the sabotage act or by mismanagement only. Anyhow the remaining steel in the D6 bracing fatigue crack was still strong enough to withstand this additional and uneccessary load. More force was required to make it break.